您可查看轻量优选流量包以及包内资源的使用情况,可以随时、精准地核对公网流量用量,快速定位流量用量异常的资源,降低费用超出预算的风险。
操作步骤
1. 登录 轻量优选流量包控制台。
2. 在轻量优选流量包页面左上角选择地域,查看轻量优选流量包列表,包括 ID/名称、状态、用量、创建时间、到期时间等信息。

3. 轻量优选流量包共有4种状态:有效、已用完、已过期、已退还,每个状态释义如下:
有效:流量包在有效期内,且流量未用完、未退还。
已用完:流量包内流量已用完。
已过期:流量包已过有效期。
已退还:流量包已退还。
4. 单击需要查看的实例 ID 或右侧操作列的查看消耗,查看轻量优选流量包的消耗情况。
5. 在消耗概览页面,选择查看时间后,即可查看对应时间内的轻量优选流量包的消耗量和 TOP10 流量消耗实例。
说明:
轻量优选流量包的消耗量每小时更新一次数据。

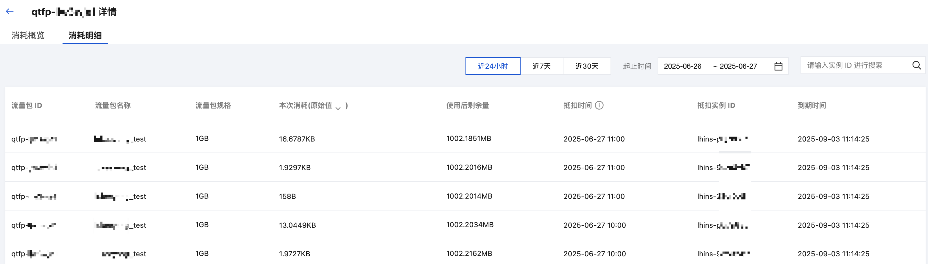
6. 单击消耗明细标签页,可查看轻量优选流量包的消耗明细,可根据时间、抵扣实例 ID 进行查询。
