前言: 上文我们讲到了Linux中的虚拟空间地址,知道了一个进程对应一个虚拟地址空间,虚拟空间地址与物理地址之间通过页表映射....【Linux】虚拟地址空间-CSDN博客 本文我们来讲一讲Linux系统是如何控制进程的!
如果喜欢本期文章,请点点关注吧!非常感谢佬的支持 _(:з」∠)_
fork函数是Linux系统提供的接口,其功能就是创建子进程。
既调用fork函数,系统就自动为我们创建好了子进程。
#include<unistd.h>
pid_t fork();
其中pid_t是Linux中的数据类型,相当于int,即为整型fork的返回值有两个,对于父进程:返回子进程的pid,对于子进程:返回0。
#include <stdio.h>
#include <unistd.h>
int main()
{
pid_t pid = fork();
if(pid<0)
{
printf("创建失败");
}
else if(pid == 0)
{
//子进程
printf("我是一个子进程:%d,这是我的父进程:%d\n",getpid(),getppid());
}
else if(pid > 0)
{
printf("我是一个父进程:%d,这是我的父进程:%d\n",getpid(),getppid());
}
} 
对于fork原理的详细介绍可参考【Linux】初见,进程概念-CSDN博客中的第四节“如何创建进程”,这里面有超级详细的介绍!
一个父进程希望复制自己,使父子进程同时执行不同的代码段。e.g. 父进程等待客户端响应,生成子进程处理请求。
一个进程想要执行多个不同的代码。e.g. 生成子进程调用exec函数。
系统中的进程太多了
用户的进程数量超过了限制
进程终止的本质就是进程结束,系统释放资源:释放进程申请的相关数据结构和对应的代码与数据
1.代码运行完毕,结果正确(退出码为0)
2.代码运行完毕,结果不正确(退出码为非0)
3.代码异常终止(进程接收到型号终止,退出码无意义)
正常退出:
1.从main函数返回
2.调用exit
3._exit
异常退出:
信号终止
退出码可以告诉我们进程终止时的状态,0代表执行成功,非0则代表不成功。
非0的退出码中,一个值对应一个错误原因。可以使用strerror函数获取退出码对应的信息。
#include <stdio.h>
#include<string.h>
int main()
{
for(int i=0;i<200;i++)
{
printf("%d -> %s\n",i,strerror(i));
}
}0 -> Success
1 -> Operation not permitted
2 -> No such file or directory
3 -> No such process
4 -> Interrupted system call
5 -> Input/output error
6 -> No such device or address
7 -> Argument list too long
8 -> Exec format error
9 -> Bad file descriptor
10 -> No child processes
11 -> Resource temporarily unavailable
12 -> Cannot allocate memory
13 -> Permission denied
14 -> Bad address
15 -> Block device required
16 -> Device or resource busy
17 -> File exists
18 -> Invalid cross-device link
19 -> No such device
20 -> Not a directory
21 -> Is a directory
22 -> Invalid argument
23 -> Too many open files in system
24 -> Too many open files
25 -> Inappropriate ioctl for device
26 -> Text file busy
27 -> File too large
28 -> No space left on device
29 -> Illegal seek
30 -> Read-only file system
31 -> Too many links
32 -> Broken pipe
33 -> Numerical argument out of domain
34 -> Numerical result out of range
35 -> Resource deadlock avoided
36 -> File name too long
37 -> No locks available
38 -> Function not implemented
39 -> Directory not empty
40 -> Too many levels of symbolic links
41 -> Unknown error 41
42 -> No message of desired type
43 -> Identifier removed
44 -> Channel number out of range
45 -> Level 2 not synchronized
46 -> Level 3 halted
47 -> Level 3 reset
48 -> Link number out of range
49 -> Protocol driver not attached
50 -> No CSI structure available
51 -> Level 2 halted
52 -> Invalid exchange
53 -> Invalid request descriptor
54 -> Exchange full
55 -> No anode
56 -> Invalid request code
57 -> Invalid slot
58 -> Unknown error 58
59 -> Bad font file format
60 -> Device not a stream
61 -> No data available
62 -> Timer expired
63 -> Out of streams resources
64 -> Machine is not on the network
65 -> Package not installed
66 -> Object is remote
67 -> Link has been severed
68 -> Advertise error
69 -> Srmount error
70 -> Communication error on send
71 -> Protocol error
72 -> Multihop attempted
73 -> RFS specific error
74 -> Bad message
75 -> Value too large for defined data type
76 -> Name not unique on network
77 -> File descriptor in bad state
78 -> Remote address changed
79 -> Can not access a needed shared library
80 -> Accessing a corrupted shared library
81 -> .lib section in a.out corrupted
82 -> Attempting to link in too many shared libraries
83 -> Cannot exec a shared library directly
84 -> Invalid or incomplete multibyte or wide character
85 -> Interrupted system call should be restarted
86 -> Streams pipe error
87 -> Too many users
88 -> Socket operation on non-socket
89 -> Destination address required
90 -> Message too long
91 -> Protocol wrong type for socket
92 -> Protocol not available
93 -> Protocol not supported
94 -> Socket type not supported
95 -> Operation not supported
96 -> Protocol family not supported
97 -> Address family not supported by protocol
98 -> Address already in use
99 -> Cannot assign requested address
100 -> Network is down
101 -> Network is unreachable
102 -> Network dropped connection on reset
103 -> Software caused connection abort
104 -> Connection reset by peer
105 -> No buffer space available
106 -> Transport endpoint is already connected
107 -> Transport endpoint is not connected
108 -> Cannot send after transport endpoint shutdown
109 -> Too many references: cannot splice
110 -> Connection timed out
111 -> Connection refused
112 -> Host is down
113 -> No route to host
114 -> Operation already in progress
115 -> Operation now in progress
116 -> Stale file handle
117 -> Structure needs cleaning
118 -> Not a XENIX named type file
119 -> No XENIX semaphores available
120 -> Is a named type file
121 -> Remote I/O error
122 -> Disk quota exceeded
123 -> No medium found
124 -> Wrong medium type
125 -> Operation canceled
126 -> Required key not available
127 -> Key has expired
128 -> Key has been revoked
129 -> Key was rejected by service
130 -> Owner died
131 -> State not recoverable
132 -> Operation not possible due to RF-kill
133 -> Memory page has hardware error使用echo $?,可以打印出最近一个程序的退出码。
退出码是进程的性质之一,所以退出码会保存到进程的PCB中。

#include<unistd.h>
void _exit(int status);
在任何地方调用_exit函数,都会让当前进程结束
并以给定的值作为退出码退出#include<unistd.h>
void exit(int status);
与_exit函数功能类似
都是以指定的退出码,退出当前进程_exit函数系统调用,而exit是C语言提供。
使用exit函数退出时,会进行缓冲区的刷新。反之_exit则不会。
举个例子说明:
程序结束刷新缓冲区,信息打印在屏幕上,反之没有信息打印。
感兴趣的朋友可以看看这篇文章,这里有详细的缓冲区刷新介绍【Linux】LInux下第一个程序:进度条-CSDN博客
#include <stdio.h>
#include<string.h>
#include<unistd.h>
int main()
{
printf("yuzuriha");
sleep(1);
exit(0);
}
#include <stdio.h>
#include<string.h>
#include<unistd.h>
int main()
{
printf("yuzuriha");
sleep(1);
_exit(0);
}
1.之前我们讲过子进程的退出后,子进程回进入僵尸状态,必须要被父进程回收才行。若子进程一直没有被父进程回收,就会一直处于僵尸状态,进而造成内存泄漏。
2.进程被创造出来执行任务,结果如何,是成功、失败还是异常,这是父进程要得知的必要信息。
所以回收子进程是必要的,父进程通过进程等待的方式,回收子进程进程资源、获取子进程的退出信息。
#include<sys/types.h>
#include<sys/wait.h>
pid_t wait(int* status);
返回值:等待成功返回对应的子进程pid,失败则返回-1
参数status:为输出型参数,可以获取子进程的退出码
若不需要,可以传NULL忽略这个参数#include<sys/types.h>
#include<sys/wait.h>
pid_ t waitpid(pid_t pid, int *status, int options);下面详细介绍一下每一个参数:

参数pid:-1,表示可以等待任意一个子进程。
参数pid:>0,表示只能等待当前这个进程的子进程。
如上面所讲,status是一个输出型参数,由操作系统填充,我们可以通过status获取进程状态。
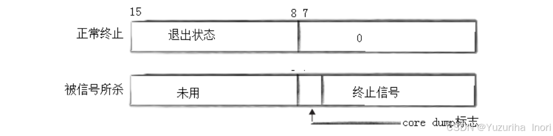
status并不是一个简单的整型,细节如下:

1.status是一个低16位有效的int,通过位划分存储子进程的信息 2.正常终止的情况下:低7位全为0,15~8存放退出码。 获取退出码:WEXITSTATUS(status) 3.非正常退出:退出码无意义,第7位存放标志,6~0存放信号编号 判断一个进程是否位正常退出:WIFEXITED(status),正常为真。
options的默认值是0,表示阻塞等待。
options为:WNOHANG时表示非阻塞等待。
简而言之,阻塞等待就是等待子进程结束的过程中,父进程不能运行。而非阻塞等待,就是等待过程中父进程可以执行自己的代码。
当参数为:WNOHANG时,waitpid会进行非阻塞轮询。等待结束,返回>0(pid);本次调用结束,但子进程还没有退出,返回0;调用失败,返回<0;。
程序替换就是字面上的意思,替换掉原有的程序,先来直接看看效果
#include <stdio.h>
#include<unistd.h>
int main()
{
printf("开始\n");
execl("/usr/bin/ls","ls","-l",NULL);
printf("结束\n");
}
我们可以看到执行就第一个printf打印出了结果,第二行就执行就程序替换,将原来的程序替换为了ls指令。
exec系列函数,其功能就是用新的程序替换原本的程序。
如图,替换程序的本质是将物理内存中的数据,用新数据覆盖,页表中的物理地址重新覆盖填写,其他的不动。

注意: 1.一旦程序替换成功,就会去执行新代码了,旧代码以及不复存在了。 2.exec系列函数只有在失败的时候才有返回值,既只要返回就是失败。 3.程序替换并没有创建新进程,只是进行了数据的覆盖。
int execl(const char* path , const char* arg , ...)
l:代表list,以链表的形式传参
path:路径+程序名,表示要执行谁
arg:平时怎么写指令,这里就怎么写。表示如何执行
注:一定要以NULL结尾!!!#include <stdio.h>
#include<unistd.h>
int main()
{
printf("开始\n");
execl("/usr/bin/ls","ls","-l",NULL);
printf("结束\n");
}不仅可以替换系统程序,也可以替换我们自己写的程序:
#include <stdio.h>
#include<unistd.h>
int main()
{
printf("开始\n");
execl("./x","./x",NULL);
printf("结束\n");
}
我们知道数据和代码父子进程默认是共享的,那程序替换对父进程有影响吗?
没有,因为数据和代码都会进行写时拷贝
int execlp(const char* file , const char* arg , ...)
l:表示list,以链表的形式传参
p:表示环境变量PATH
file:有了PATH环境变量,我们就不用写路径了。
直接写我们要执行的程序名即可
arg:同上,与我们平时写的指令无异
但必须以NULL结尾#include <stdio.h>
#include<unistd.h>
int main()
{
printf("开始\n");
execlp("ls","ls","-l",NULL);
printf("结束\n");
}
int execv(const char* path , char* const argv[])
v:表示vector,用数组的方式传参
数组中,依旧想要以NULL结尾#include <stdio.h>
#include<unistd.h>
int main()
{
char* const argv[]={
(char* const)"ls",
(char* const)"-l",
NULL
};
printf("开始\n");
execv("/usr/bin/ls",argv);
printf("结束\n");
}
int execvp(const char* file , char* const argv[])
v:vector,以数组形式传参
p:环境变量PATH同上,就不举例了
int execvpe(const char* flie , char* const argv[] , char* cosnt envp[])
相比上面,多了一个e
e:环境变量!
传入envp数组,那被替换的进程的环境变量会被evnp[]直接覆盖
这会导致我们无法使用原来的环境变量所以我们一般采用新增环境变量的方式,而不是直接覆盖。
法一:调用系统调用:putevn(char* string)新增环境变量,再调用其他exec函数实现
法二:调用系统调用:putevn(char* string)新增环境变量,调用execvpe时,传入环境变量指针:environ
int execle(const char* path , char* const argv .... , char* cosnt envp[])
同上int execve(const char* path , char* const argv[] ... , char* cosnt envp[])
同上值得一提的是execve的系统调用,而其他函数都是C语言提供的
