while(表达式)
语句;//如果循环体想包含更多的语句,可以加上大括号{}
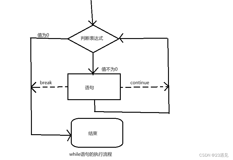
首先执行判断表达式,表达式为0,循环直接结束;表达式不为0,则执行循环语句,语句执行完后再继续判断,是否进行下一次判断。
在屏幕上打印1~10的值
#include<stdio.h>
int main()
{
int i = 1;
while (i <= 10)
{
printf("%d ", i);
i++;
}
return 0;
}for循环是三种循环中使用最多的,其形式如下:
for(表达式1;表达式2;表达式3)
语句;//如果循环体包含更多的语句,可以加上大括号{}表达式1用于循环变量的初始化
表达式2用于循环结束条件的判断
表达式3用于循环变量的调整

整个循环过程中,表达式1初始化部分只被执行一次,剩下的就是表达式2、循环语句、表达式3在循环。
练习1.在屏幕上打印1~10的值
#include<stdio.h>
int main()
{
int i = 0;
for (i = 1; i <= 10; i++)
{
printf("%d ", i);
}
return 0;
}练习2.计算1~100之间3的倍数的数字之和
第一种:
#include<stdio.h>
int main()
{
int i = 0;
int sum = 0;
for (i = 1; i <= 100; i++)
{
if (i % 3 == 0)
sum += i;
}
printf("%d\n", sum);
return 0;
}第二种:小小的优化
#include<stdio.h>
int main()
{
int i = 0;
int sum = 0;
for (i = 3; i <= 100; i+=3)
{
sum += i;
}
printf("%d\n", sum);
return 0;
}在循环语句中do while语句使用很少,它的语法如下:
do
语句
while(表达式);while和do这两种循环都是先判断,如果条件满足,执行循环语句,如果不满足就跳出循环;而do while循环则是先直接进入循环体,执行循环语句,然后再执行while后的判断表达式,表达式为真,就会进行下一次,表达式为假,则不再继续执行。

do while语句中循环体至少执行一次。
在屏幕上上打印1~10的值
#include<stdio.h>
int main()
{
int i = 1;
do
{
printf("%d ", i);
i++;
} while (i <= 10);
return 0;
}break的作用是用于永久的终止循环,只要break被执行,直接就会跳出循环,继续往后执行。
continue的作用是跳过continue后边的代码,在for循环和while循环中有所差异。
#include<stdio.h>
int main()
{
int i = 1;
while (i <= 10)
{
if (i == 5)
break;
printf("%d ", i);
i++;
}
return 0;
}打印1,2,3,4后,当i=5时,循环正break的地方终止,不在打印,不在循环。
所以break的作用就是永久的终止循环,只要break被执行,break外的第一层循环就终止了。
#include<stdio.h>
int main()
{
int i = 1;
while (i <= 10)
{
if (i == 5)
continue;
printf("%d ", i);
i++;
}
return 0;
}当i=5后,就执行continue,直接跳过continue的代码,去判断循环的地方,因为跳过了i++,所以i一直为5,程序陷入死循环。
#include<stdio.h>
int main()
{
int i = 0;
for (i = 1; i <= 10; i++)
{
if (i == 5)
break;
printf("%d ", i);
}
return 0;
}for循环中的break和while循环中的break一样,for循环中的break也用于终止循环,不管循环还需要多少次,只要执行到break,循环就终止了。
#include<stdio.h>
int main()
{
int i = 0;
for (i = 1; i <= 10; i++)
{
if (i == 5)
continue;
printf("%d ", i);
}
return 0;
}打印结果:1 2 3 4 6 7 8 9 10
continue跳过了后边的打印,来到++的调整部分,打印结果没有5
while循环和for循环中continue的区别:

do while语句中的break和continue的作用和while循环几乎一模一样,大家可以自行测试体会。
#include<stdio.h>
int main()
{
int i = 1;
do
{
if (i == 5)
break;
printf("%d ", i);
i++;
} while (i <= 10);
return 0;
}#include<stdio.h>
int main()
{
int i = 1;
do
{
if (i == 5)
continue;
printf("%d ", i);
i++;
} while (i <= 10);
return 0;
}