前面我们已经完成了后台系统的员工登录功能开发,但是还存在一个问题:用户如果不登录,直接访问系统首页面,照样可以正常访问。 这种设计并不合理,我们希望看到的效果应该是,只有登录成功后才可以访问系统中的页面,如果没有登录则跳转到登录页面。 那么,具体应该怎么实现呢? 答案就是使用过滤器或者拦截器,在过滤器或者拦截器中判断用户是否已经完成登录,如果没有登录则跳转到登录页面。
实现步骤:
@ServletComponentScan过滤器具体的处理逻辑如下:


/**
* @author frx
* @version 1.0
* @date 2022/4/28 9:32
*检查用户是否已经完成登录
*/
@WebFilter(filterName = "LoginCheckFilter",urlPatterns = "/*")
@Slf4j
public class LoginCheckFilter implements Filter {
//路径匹配器,支持通配符
public static final AntPathMatcher PATH_MATCHER=new AntPathMatcher();
@Override
public void doFilter(ServletRequest servletRequest, ServletResponse servletResponse, FilterChain filterChain) throws IOException, ServletException {
HttpServletRequest request=(HttpServletRequest) servletRequest;
HttpServletResponse response=(HttpServletResponse) servletResponse;
//1.获取本次请求的URI
String requestURI = request.getRequestURI();
log.info("拦截到请求:{}",requestURI);
//1.1定义不需要处理的请求路径
String[] urls = new String[]{
"/employee/login",//登录 放行
"/employee/logout",
"/backend/**", //后端静态资源
"/front/**" //前端静态资源
};
//2.判断本次请求是否需要处理
boolean check = check(urls, requestURI);
//3.如果不需要处理,则直接放行
if(check){
log.info("本次请求{}不需要处理",requestURI);
filterChain.doFilter(request,response);
return;
}
//4.判断登录状态,如果已登录,则直接放行
if(request.getSession().getAttribute("employee")!=null){
log.info("用户已登录,用户id为;{}",request.getSession().getAttribute("employee"));
filterChain.doFilter(request,response);
return;
}
log.info("用户未登录");
//5.如果未登录则返回未登录结果,通过输出流方式向客户端页面响应数据
response.getWriter().write(JSON.toJSONString(R.error("NOTLOGIN")));
return;
}
/**
* 路径匹配,检查本次请求是否需要放行
* @param urls
* @param requestURI
* @return
*/
public boolean check(String[] urls,String requestURI){
for (String url : urls) {
boolean match = PATH_MATCHER.match(url, requestURI);
if(match){
return true;
}
}
return false;
}
}
后台系统中可以管理员工信息,通过新增员工来添加后台系统用户。点击[添加员工]按钮跳转到新增页面,如下:

新增员工,其实就是将我们新增页面录入的员工数据插入到employee表。需要注意,employee表中对username字段加入了唯一约束,因为username是员工的登录账号,必须是唯一的

employee表中的status字段已经设置了默认值1,表示状态正常。

在开发代码之前,需要梳理一下整个程序的执行过程:


/**
* 新增员工
* @param employee
* @return
*/
@PostMapping
public R<String> save(HttpServletRequest request,@RequestBody Employee employee){
log.info("新增员工,员工信息:{}",employee.toString());
//设置初始密码123456,需要进行md5 加密处理
employee.setPassword(DigestUtils.md5DigestAsHex("123456".getBytes()));
employee.setCreateTime(LocalDateTime.now());
employee.setUpdateTime(LocalDateTime.now());
//获得当前登录用户的Id
Long empId = (Long) request.getSession().getAttribute("employee");
employee.setCreateUser(empId);
employee.setUpdateUser(empId);
employeeService.save(employee);
return R.success("新增员工成功");
}2022-04-29 16:02:28.657 INFO 796 --- [nio-8088-exec-7] c.frx01.reggie.filter.LoginCheckFilter : 用户已登录,用户id为;1
2022-04-29 16:02:42.761 INFO 796 --- [nio-8088-exec-7] c.f.r.controller.EmployeeController : 新增员工,员工信息:Employee(id=null, username=zhangsan, name=张三, password=null, phone=18339981812, sex=1, idNumber=123456789987654321, status=null, createTime=null, updateTime=null, createUser=null, updateUser=null)
Creating a new SqlSession
SqlSession [org.apache.ibatis.session.defaults.DefaultSqlSession@6a83e3ef] was not registered for synchronization because synchronization is not active
2022-04-29 16:04:02.546 ERROR 796 --- [nio-8088-exec-7] c.a.druid.pool.DruidAbstractDataSource : discard long time none received connection. , jdbcUrl : jdbc:mysql://localhost:3306/reggie?serverTimezone=Asia/Shanghai&useUnicode=true&characterEncoding=utf-8&zeroDateTimeBehavior=convertToNull&useSSL=false&allowPublicKeyRetrieval=true, jdbcUrl : jdbc:mysql://localhost:3306/reggie?serverTimezone=Asia/Shanghai&useUnicode=true&characterEncoding=utf-8&zeroDateTimeBehavior=convertToNull&useSSL=false&allowPublicKeyRetrieval=true, lastPacketReceivedIdleMillis : 127717
JDBC Connection [com.mysql.cj.jdbc.ConnectionImpl@6da4076d] will not be managed by Spring
==> Preparing: INSERT INTO employee ( id, username, name, password, phone, sex, id_number, create_time, update_time, create_user, update_user ) VALUES ( ?, ?, ?, ?, ?, ?, ?, ?, ?, ?, ? )
==> Parameters: 1519950622798766082(Long), zhangsan(String), 张三(String), e10adc3949ba59abbe56e057f20f883e(String), 18339981812(String), 1(String), 123456789987654321(String), 2022-04-29T16:03:54.404(LocalDateTime), 2022-04-29T16:03:54.806(LocalDateTime), 1(Long), 1(Long)
<== Updates: 1
Closing non transactional SqlSession [org.apache.ibatis.session.defaults.DefaultSqlSession@6a83e3ef]
前面的程序还存在一个问题,就是当我们在新增员工时输入的账号已经存在,由于employee表中对该字段加入了唯一约束,此时程序会抛出异常:
java. sql.SQLIntegrityConstraintViolationException: Duplicate entry 'zhangsan’for key 'idx_username此时需要我们的程序进行异常捕获,通常有两种处理方式:
try { employeeService.save(employee); } catch (Exception e) { R.error("新增员工失败"); } return R.success("新增员工成功");
/**
* @author frx
* @version 1.0
* @date 2022/4/29 16:20
* desc:全局异常处理
*/
@ControllerAdvice(annotations = {RestController.class,Controller.class}) //拦截类上面加了RestController注解或者Controller注解的controller
@ResponseBody
@Slf4j
public class GlobalExceptionHandler {
/**
* 异常处理方法
* @return
*/
@ExceptionHandler(SQLIntegrityConstraintViolationException.class)
public R<String> exceptionHandler(SQLIntegrityConstraintViolationException ex){
log.error(ex.getMessage());
if(ex.getMessage().contains("Duplicate entry")){
String[] split = ex.getMessage().split(" ");
String msg=split[2]+"已存在";
return R.error(msg);
}
return R.error("未知错误");
}
}
小结

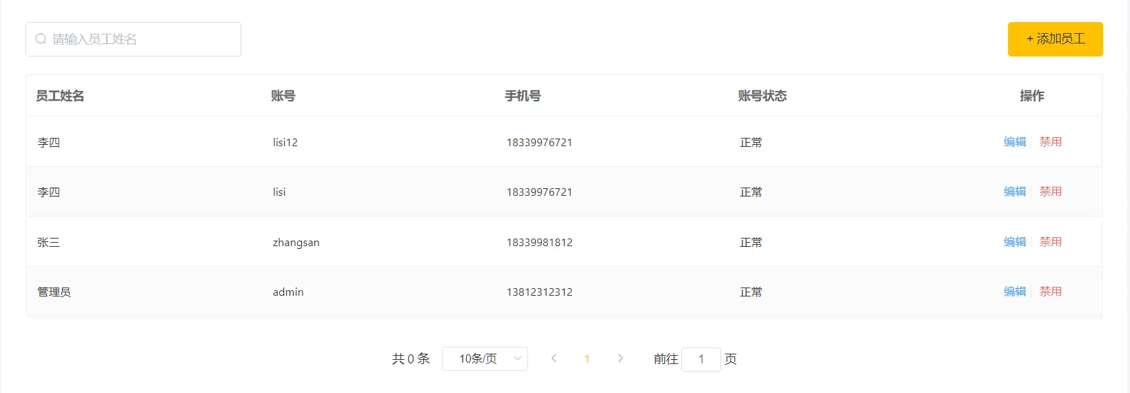
系统中的员工很多的时候,如果在一个页面中全部展示出来会显得比较乱,不便于查看,所以一般的系统中都会以分页的方式来展示列表数据。

在开发代码之前,需要梳理一下整个程序的执行过程:


/**
* @author frx
* @version 1.0
* @date 2022/5/1 16:59
* desc:配置MP的分页插件
*/
@Configuration
public class MyBatisPlusConfig {
@Bean
public MybatisPlusInterceptor mybatisPlusInterceptor(){
MybatisPlusInterceptor mybatisPlusInterceptor = new MybatisPlusInterceptor();
mybatisPlusInterceptor.addInnerInterceptor(new PaginationInnerInterceptor());
return mybatisPlusInterceptor;
}
} /**
* 员工信息的分页查询
* @param page
* @param pageSize
* @return
*/
@GetMapping("/page")
public R<Page> page(int page,int pageSize,String name){
log.info("page={},pageSize={},name={}",page,pageSize,name);
//构造分页构造器
Page pageInfo=new Page(page,pageSize);
//构造条件构造器
LambdaQueryWrapper<Employee> queryWrapper=new LambdaQueryWrapper();
//添加过滤条件
queryWrapper.like(StringUtils.isNotEmpty(name),Employee::getName,name);
//排序条件
queryWrapper.orderByDesc(Employee::getUpdateTime);
//执行查询
employeeService.page(pageInfo,queryWrapper);
return R.success(pageInfo);
}{
"code": 1,
"msg": null,
"data": {
"records": [{
"id": 1520694192883232769,
"username": "lisi12",
"name": "李四",
"password": "e10adc3949ba59abbe56e057f20f883e",
"phone": "18339976721",
"sex": "1",
"idNumber": "123456789123456789",
"status": 1,
"createTime": [2022, 5, 1, 17, 18, 43],
"updateTime": [2022, 5, 1, 17, 18, 43],
"createUser": 1,
"updateUser": 1
}, {
"id": 1520694004332429315,
"username": "lisi",
"name": "李四",
"password": "e10adc3949ba59abbe56e057f20f883e",
"phone": "18339976721",
"sex": "1",
"idNumber": "123456789987654321",
"status": 1,
"createTime": [2022, 5, 1, 17, 17, 58],
"updateTime": [2022, 5, 1, 17, 17, 58],
"createUser": 1,
"updateUser": 1
}, {
"id": 1519950622798766082,
"username": "zhangsan",
"name": "张三",
"password": "e10adc3949ba59abbe56e057f20f883e",
"phone": "18339981812",
"sex": "1",
"idNumber": "123456789987654321",
"status": 1,
"createTime": [2022, 4, 29, 16, 3, 54],
"updateTime": [2022, 4, 29, 16, 3, 55],
"createUser": 1,
"updateUser": 1
}, {
"id": 1,
"username": "admin",
"name": "管理员",
"password": "e10adc3949ba59abbe56e057f20f883e",
"phone": "13812312312",
"sex": "1",
"idNumber": "110101199001010047",
"status": 1,
"createTime": [2021, 5, 6, 17, 20, 7],
"updateTime": [2021, 5, 10, 2, 24, 9],
"createUser": 1,
"updateUser": 1
}],
"total": 0,
"size": 10,
"current": 1,
"orders": [],
"optimizeCountSql": true,
"hitCount": false,
"countId": null,
"maxLimit": null,
"searchCount": true,
"pages": 0
},
"map": {}
}
账号状态响应的是1,为什么页面显示正常? <el-table-column label="账号状态"> <template slot-scope="scope"> {{ String(scope.row.status) === '0' ? '已禁用' : '正常' }} </template> </el-table-column>
在员工管理列表页面,可以对某个员工账号进行启用或者禁用操作。账号禁用的员工不能登录系统,启用后的员工可以正常登录。
需要注意,只有管理员(admin用户)可以对其他普通用户进行启用、禁用操作,所以普通用户登录系统后启用、禁用按钮不显示。
如果某个员工账号状态为正常,则按钮显示为“禁用”,如果员工账号状态为已禁用,则按钮显示为“启用”。


页面是怎么做到只有管理员admin能够看到启用,禁用按钮的?
created() {
this.init()
if(localStorage.getItem('userInfo')!=null) {
//获取当前登录员工的账号,并赋值给模型数据user
this.user = JSON.parse(localStorage.getItem('userInfo')).username
}
}, </el-button>
<el-button
type="text"
size="small"
class="delBut non"
@click="statusHandle(scope.row)"
v-if="user === 'admin'"
>
{{ scope.row.status == '1' ? '禁用' : '启用' }}
</el-button>在开发代码之前,需要梳理一下整个程序的执行过程:

页面中的ajax请求是如何发送的呢

/**
* 根据id修改员工信息
* @param employee
* @return
*/
@PutMapping
public R<String> update(HttpServletRequest request,@RequestBody Employee employee){
log.info(employee.toString());
Long empId = (Long) request.getSession().getAttribute("employee");
employee.setUpdateTime(LocalDateTime.now());
employee.setUpdateUser(empId);
employeeService.updateById(employee);
return R.success("员工信息修改成功");
}测试过程没有报错,但是功能并没有实现,查看数据库中的数据也没有变化。 观察控制台输出的SQL:

SQL执行的结果是更新的数据行数为0,仔细观察id的值,和数据库中对应记录的id值并不相同

通过观察控制台输出的5QL发现页面传递过来的员工id的值和数据库中的id值不一致,这是怎么回事呢?
分页查询时服务端响应给页面的数据中id的值为19位数字,类型为long

页面中js处理long型数字只能精确到前16位,所以最终通过ajax请求提交给服务器的时候id变为了1520694192883232800

前面我们已经发现了问题的原因,即js对long型数据进行处理时丢失精度,导致提交的id和数据库中的id不一致。
如何解决这个问题?
我们可以在服务器给页面响应json数据时进行处理,将long型数据统一转为String字符串
具体实现步骤:
/**
* 扩展mvc框架的消息转换器
* @param converters
*/
@Override
protected void extendMessageConverters(List<HttpMessageConverter<?>> converters) {
log.info("扩展消息转换器...");
//创建消息转换器对象
MappingJackson2CborHttpMessageConverter messageConverter=new MappingJackson2CborHttpMessageConverter();
//设置对象转换器,底层使用Jackson将Java对象转为json
messageConverter.setObjectMapper(new JacksonObjectMapper());
//将上面的消息转换器对象追加到mvc框架的转换器容器集合中
converters.add(0,messageConverter);
}
==> Preparing: UPDATE employee SET status=?, update_time=?, update_user=? WHERE id=?
==> Parameters: 0(Integer), 2022-05-01T20:46:06.772(LocalDateTime), 1(Long), 1520694192883232769(Long)
<== Updates: 1
Closing non transactional SqlSession [org.apache.ibatis.session.defaults.DefaultSqlSession@299d2b9]
在员工管理列表页面点击编辑按钮,跳转到编辑页面,在编辑页面回显员工信息并进行修改,最后点击保存按钮完成编辑操作

在开发代码之前需要梳理一下操作过程和对应的程序的执行流程:
注意:add.html页面为公共页面,新增员工和编辑员工都是在此页面操作
/**
* 根据id查询员工信息
* @param id
* @return
*/
@GetMapping("/{id}")
public R<Employee> getById(@PathVariable Long id){
log.info("根据id查询信息...");
Employee employee = employeeService.getById(id);
if(employee!=null){
return R.success(employee);
}
return R.error("没有查询到对应员工信息");
}将张三账号修改为Zhangsan

